shopify analytics
info@savirautomocion.com
sat@savirautomocion.com

Tel: (+34) 654 120 876 - 620 868 151
 
Política de Privacidad
GAMA COMPLETA
Política de Cookies

GATOS OLEONEUMÁTICOS PASQUIN PARA GRAN TONELAJE Y TURISMOS

ÍNDICE DE PRODUCTOS
TURISMOS Y FURGONETAS
Utiles centrado equilibradora Turismo
Palomillas apriete equilibradoras Turismo
Conos equilibradoras Turismo
Casquillos centrado equilibradoras Turismo
Bridas centrado equilibradoras Turismo
Conos y Discos para furgonetas
Pernos centraje llantas Camion
Palomillas apriete equilibradora Camion
Bridas centrado equilibradoras Camion
ACCESORIOS PARA EQUILIBRADORAS
 DE RUEDAS
   
P 15  
                  
   
  1º  
  
   2º  
  
  3º  
  
  4º   
 
  5º   
Potencia         
 Tns.       
1,5
       
Peso
Kg.   53           
Presión
atm.  8 ÷ 12          
ACCESORIOS PARA DESMONTADORAS
 DE RUEDAS
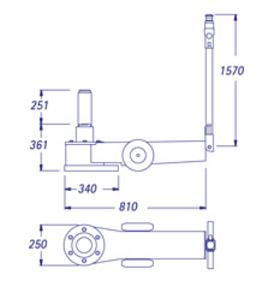
Gatos para turismos y vehículos ligeros oleoneumáticos Pasquin Gato turismo oleoneumatico Pasquin modelo P15 dimensiones
CARROS ELEVADORES PARA RUEDAS,
TAMBORES DE FRENO, ETC..

Gato de carretilla oleoneumático modelo P 15, con potencia para 1500 kgs. Equipado con válvula de sobrecarga y de descenso controlado. El mando de elevación y descenso situado en la empuñadura. Ruedas de nylon. Altura mínima 120 mm. Altura máxima 500 mm.

CUBAS DE INSPECCIÓN
DESTALONADORES HIDRÁULICOS
ENTALONADORES/CAÑONES
GATOS DE CARRETILLA HIDRÁULICOS
   
P 50  
                  
   
  1º  
  
   2º  
  
  3º  
  
  4º   
 
  5º   
Potencia         
 Tns.       
5
       
Peso
Kg.   83           
Presión
atm.  8 ÷ 12          
Turismos y Furgonetas
Fosos
Servicios Moviles
Vehiculos Bajos
Vehiculos Altos
Accesos estrechos
Ligeros y Manejables
Toda la gama de Gatos
GATOS OLEONEUMÁTICOS PARA
TURISMOS Y GRAN TONELAJE
gatos_pasquin001006.gif Gatos oleoneumáticos para turismos y furgonetas Pasquin Gatos oleoneumaticos turismos P50 diseño
GATOS PARA TRANSMISIONES Y
CAMBIOS
GATOS DE BOTELLA HIDRÁULICOS  
Gato de carretilla oleoneumático modelo P 50, con potencia para 5000 kgs. Equipado con válvula de sobrecarga y de descenso controlado. El mando de elevación y descenso situado en la empuñadura. Ruedas de nylon. Altura mínima 90 mm. Altura máxima 500 mm
INFLADORES DE NEUMÁTICOS
JAULAS DE INFLADO
LLAVES DE IMPACTO Y BOCAS
POLVOS EQUILIBRADO
GRAN TONELAJE TIPO BOTELLA
RAYADORAS DE NEUMÁTICOS
Gato P200 dimensiones
   
P 200  
                  
   
  1º  
  
   2º  
  
  3º  
 
 4º   
 
 5º  
Potencia         
 Tns.         25      
Peso
Kg.  31           
Presión
atm.  8,5 ÷ 12          
RECTIFICADORA DE DISCOS DE FRENO
Gato para servicios moviles gran tonelaje PASQUIN  modelo P200
Discos de goma para elevadores de columnas
Tacos de goma para elevadores de tijera
TACOS-DISCOS DE GOMA ELEVADORES
VULCANIZADORAS
Gato para gran tonelaje oleoneumático modelo P 200. Tipo botella, con ruedas de nylon y asa para su transporte. Un pistón, con husillo prolongador, para 25 Tns. Peso: 31 kgs. Equipado con mando y depresor para su descenso
   
P 102  
                  
   
  1º  
  
   2º  
  
  3º  
 
 4º   
 
 5º  
Potencia         
 Tns.         30 15       
Peso
Kg.  28           
Presión
atm.  9 ÷ 12          
Gato P102 dimensiones Gato para servicios moviles gran tonelaje Pasquin modelo P102
Gato para gran tonelaje oleoneumático modelo P 102. Tipo botella, con ruedas de nylon y asa para el transporte. Telescópico de dos cuerpos: 30 Tns. en el primero y 15 tns. en el segundo, con dos alargadores de diferente altura. Peso: 28 kgs. Extra bajo: altura mínima 175 mm. Equipado con mando y depresor para su descenso
   
P 18-30  
                  
   
  1º  
  
   2º  
  
  3º  
 
 4º   
 
 5º  
Potencia         
 Tns.         30 18    
Peso
Kg.  29           
Presión
atm.  9 ÷ 12          
p18_30_p.jpg Gato portatil oleoneumatico para gran tonelaje modelo P18-30
Gato gran tonelaje oleoneumático modelo P 18-30. Tipo botella, telescópicode dos cuerpos: 30 Tns. en el primero y 18 Tns. en el segundo, con dos alargadores de diferente altura. Peso: 29 kgs. Extra bajo: altura mínima 150 mm. Equipado con mando y depresor para su descenso.
GRAN TONELAJE TIPO BOTELLA PARA FOSO
   
P 102 F  
                  
   
  1º  
  
   2º  
  
  3º  
 
 4º   
 
 5º  
Potencia         
 Tns.         30 15    
Peso
Kg.  31           
Presión
atm.  8,5 ÷ 12          
p102f_p.jpg Gatos fosos PASQUIN
Gato para gran tonelaje oleoneumático modelo P 102 FOSA. Tipo botella, telescópico de dos cuerpos: 30 Tns. en el primero y 15 Tns. en el segundo, con dos alargadores de diferente altura. Diseñado especialmente para su utilización en fosa (alineación, reparación)
p200f_p.jpg Gato para foso de gran tonelaje modelo P 200 Fosa
   
P 200 F  
                  
   
  1º  
  
   2º  
  
  3º  
 
 4º   
 
 5º  
Potencia         
 Tns.         25    
Peso
Kg.  28           
Presión
atm.  8,5 ÷ 12          
Gato para gran tonelaje oleoneumático modelo P 200 FOSA. Tipo botella, un pistón, con husillo prolongador, para 25 Tns. Diseñado especialmente para su utilización en fosa (alineación, reparación)
GRAN TONELAJE TIPO CARRETILLA 1 PISTON
Gato Pasquin modelo P250C
   
P 250C  
                  
   
  1º  
  
   2º  
  
  3º  
 
 4º   
 
 5º  
Potencia         
 Tns.         25      
Peso
Kg.  42           
Presión
atm.  8 ÷ 12          
Gato P250C dimensiones
Gato para gran tonelaje oleoneumático modelo P 250C. Tipo carretilla corto, con ruedas de goma y mango direccional largo. Un pistón, con husillo prolongador, para 25 Tns. Un alargador de 100 mm. Mando de elevación y descenso situado en la empuñadura
   
P 301  
                  
   
  1º  
  
   2º  
  
  3º  
 
 4º   
 
 5º  
Potencia         
 Tns.         30    
Peso
Kg.  92           
Presión
atm.  10 ÷ 12          
Gato oleoneumatico para gran tonelaje Gato P301 diseño
Gato para gran tonelaje oleoneumático modelo P 301. Tipo carretilla largo, con ruedas de goma y mango direccional extralargo. Un solo pistón de gran desarrollo con un recorrido de 251 mm. y 30 tns. de carga. Mando de elevación y descenso situado en la empuñadura. Base redonda. Especialmente indicado para la elevación de maquinaria agrícola
Gato para gran tonelaje modelo P400
   
P 400  
                  
   
  1º  
  
   2º  
  
  3º  
 
 4º   
 
 5º  
Potencia         
 Tns.        40    
Peso
Kg.  63           
Presión
atm.  9 ÷ 12          
gatos-pasquin-p400.jpg
Gato para gran tonelaje oleoneumático modelo P 400. Tipo carretilla semi-largo, con ruedas de goma y mando direccional extralargo. Un pistón, para 40 Tns. Dos alargadores de diferente altura. Mando de elevación y descenso situado en la empuñadura. Base redonda
GRAN TONELAJE TIPO CARRETILLA 2 PISTONES
Gato servicios moviles gran tonelaje PASQUIN modelo P152C
   
P 152C  
                  
   
  1º  
  
   2º  
  
  3º  
 
 4º   
 
 5º  
Potencia         
 Tns.         30 15      
Peso
Kg.  39           
Presión
atm.  9 ÷ 12          
Gato P152C diseño
Gato para gran tonelaje oleoneumático modelo P 152C. Tipo carretilla corto, con ruedas de goma y mango direccional largo. Telescópico de dos cuerpos: 30 Tns. en el primero y 15 Tns. en el segundo, con dos alargadores de diferente altura. Mando de elevación y descenso situado en la empuñadura. Altura mínima 175 mm.
Gato Pasquin gran tonelaje oleoneumatico modelo P182C
   
P 182C  
                  
   
  1º  
  
   2º  
  
  3º  
 
 4º   
 
 5º  
Potencia         
 Tns.         30 18      
Peso
Kg.  37           
Presión
atm.  9 ÷ 12          
Gato P182C dimensiones
Gato para gran tonelaje oleoneumático modelo P 182C. Tipo carretilla corto, con ruedas de goma y mango direccional largo. Telescópico de dos cuerpos: 30 Tns. en el primero y 18 Tns. en el segundo, con dos alargadores de diferente altura. Mando de elevación y descenso situado en la empuñadura. Altura mínima 150 mm.
   
P 302 NV  
                  
   
  1º  
  
   2º  
  
  3º  
 
 4º   
 
 5º  
Potencia         
 Tns.         50 25    
Peso
Kg.  97           
Presión
atm.  10,5 ÷ 12          
Gatos para vehiuclos altos Pasquin Gato P302NV diseño
Gato para gran tonelaje oleoneumático mod. P 302 NV. Tipo carretilla largo, con ruedas de goma y mango direccional extralargo. Telescópico de dos cuerpos: 50 Tns. en el primero y 25 Tns. en el segundo, con dos alargadores de diferente altura. Mando de elevación y descenso situado en la empuñadura. Base cuadrada
   
P 502
                  
   
  1º  
  
   2º  
  
  3º  
 
 4º   
 
 5º  
Potencia         
 Tns.        50 30    
Peso
Kg.  51           
Presión
atm.  8,5 ÷ 12          
Gato oleoneumaticos Pasquin mod. P502 Gato P502 dimensiones
Gato para gran tonelaje oleoneumático modelo P 502. Tipo carretilla corto, con ruedas de goma y mango direccional largo. Telescópico de dos cuerpos: 50 Tns. en el primero y 30 Tns. en el segundo con husillo prolongador. Dos alargadores de diferente altura. Mando de elevación y descenso situado en la empuñadura
   
P 302  
                  
   
  1º  
  
   2º  
  
  3º  
 
 4º   
 
 5º  
Potencia         
 Tns.         50 30    
Peso
Kg.  86           
Presión
atm.  10,5 ÷ 12          
Gato para autobuses y tractores modelo P302 Gato P302 diseño
Gato para gran tonelaje oleoneumático modelo P 302. Tipo carretilla largo, con ruedas de goma y mango direccional extralargo. Telescópico de dos cuerpos: 50 Tns. en el primero y 30 Tns. en el segundo, con dos alargadores de diferente altura. Mando de elevación y descenso situado en la empuñadura. Base redonda
   
P 302SC  
                  
   
  1º  
  
   2º  
  
  3º  
 
 4º   
 
 5º  
Potencia         
 Tns.         50 30      
Peso
Kg.  80           
Presión
atm.  10,5 ÷ 12          
Gato para servicios moviles gran tonaleje oleoneumatico modelo P302SC Gato P302SC diseño
Gato para gran tonelaje oleoneumático modelo P 302SC. Tipo carretilla, con ruedas de goma y mango direccional reducido, diseñdo para servicios móviles. Telescópico de dos cuerpos: 50 Tns. en el primero y 30 Tns. en el segundo con dos alargadores de diferente altura. Mando de elevación y descenso situado en la empuñadura. Base redonda
   
P 302 EX  
                  
   
  1º  
  
   2º  
  
  3º  
 
 4º   
 
 5º  
Potencia         
 Tns.         80 50    
Peso
Kg.  107           
Presión
atm.  10,5 ÷ 12          
Gato para vehiculos altos de gran tonelaje modelo P302 Extra Gato P302 Extra diseño
Gato para gran tonelaje oleoneumático modelo P 302 EX. Tipo carretilla largo, con ruedas de goma y mango direccional extralargo. Telescópico de dos cuerpos: 80 Tns. en el primero y 50 Tns. en el segundo, con dos alargadores de diferente altura. Mando de elevación y descenso situado en la empuñadura. Base redonda
GRAN TONELAJE TIPO CARRETILLA 3 PISTONES
   
P 103  
                  
   
  1º  
  
   2º  
  
  3º  
 
 4º   
 
 5º  
Potencia         
 Tns.         33 18 10     
Peso
Kg.  44           
Presión
atm.  9 ÷ 12          
Gato oleoneumatico para vehiculos bajos y autobuses Pasquin Gato P103 dimensiones
Gato para gran tonelaje oleoneumático modelo P103. Tipo carretilla corto con ruedas de goma y mango direccional largo. Telescópico de tres cuerpos: 33 Tns. en el primero, 18 Tns. en el segundo y 10 Tns. en el tercero, con dos alargadores de diferente altura. Extra-bajo: altura mínima 120 mm. Mando de elevación y descenso situado en la empuñadura. Base redonda
   
P 303EB SC  
                  
   
  1º  
  
   2º  
  
  3º  
 
 4º   
 
 5º  
Potencia         
 Tns.         60 40 20     
Peso
Kg.  93           
Presión
atm.  9 ÷ 12          
Gato oleoneumatico gran tonelaje Pasquin modelo P303EBSC Gato P303EB_SC diseño
Gato para gran tonelaje oleoneumático modelo P 303EB-SC. Tipo carretilla, con ruedas de goma y mango direccional reducido, diseñado para servicios móviles. Telescópico de tres cuerpos: 60 Tns. en el primero, 40 Tns. en el segundo y 20 Tns. en el tercero, con dos alargadores de diferente altura. Extra bajo: altura mínima 175 mm. Mando de elevación y descenso situado en la empuñadura. Base redonda.
   
P 303NV  
                  
   
  1º  
  
   2º  
  
  3º  
 
 4º   
 
 5º  
Potencia         
 Tns.         60 40 20   
Peso
Kg.  92           
Presión
atm.  9 ÷ 12          
Gato gran tonelaje de carretilla Pasquin modelo P303NV Gato modelo P303NV dimensiones
Gato oleoneumático para gran tonelaje modelo P 303 NV. Tipo carretilla largo, con ruedas de goma y mango direccional extralargo. Telescópico de tres cuerpos: 60 Tns. en el primero, 40 Tns. en el segundo y 20 Tns. en el tercero, con dos alargadores de diferente altura. Extra bajo: altura mínima 175 mm. Mando de elevación y descenso situado en la empuñadura. Base cuadrada.
   
P 303 EB  
                  
   
  1º  
  
   2º  
  
  3º  
 
 4º   
 
 5º  
Potencia         
 Tns.         60 40 20   
Peso
Kg.  98           
Presión
atm.  9 ÷ 12          
Gato para autobuses Pasquin modelo P303EB Gato modelo P303EB dimensiones
Gato para gran tonelaje oleoneumático modelo P 303 EB. Tipo carretilla largo, con ruedas de goma y mango direccional extralargo. Telescópico de tres cuerpos: 60 Tns. en el primero, 40 Tns. en el segundo y 20 Tns. en el tercero, con dos alargadores de diferente altura. Extra bajo: altura mínima 175 mm. Mando de elevación y descenso situado en la empuñadura. Base redonda.
   
P 303 N  
                  
   
  1º  
  
   2º  
  
  3º  
 
 4º   
 
 5º  
Potencia         
 Tns.         60 40 20    
Peso
Kg.  109           
Presión
atm.  9 ÷ 12          
Gato para vehiculos altos modelo P303N gatos-pasquin-oleoneumaticos-p303n.jpg
Gato para gran tonelaje oleoneumático modelo P 303N. Tipo carretilla largo, con ruedas de goma y mango direccional extralargo. Telescópico de tres cuerpos: 60 Tns. en el primero, 40 Tns. en el segundo y 20 Tns. en el tercero, con dos alargadores de diferente altura. Mando de elevación y descenso situado en la empuñadura. Base redonda.
GRAN TONELAJE TIPO CARRETILLA 4 PISTONES
Gato carretilla gran tonelaje autobuses y vehiculos bajos modelo P304NVB gatos-pasquin-dimensiones-p304nvb.jpg

Gato para gran tonelaje oleoneumático modelo P 304 NVB. Tipo carretilla largo, con ruedas de goma y mango direccional extralargo. Telescópico de cuatro cuerpos: 50 Tns. en el primero, 34 Tns. en el segundo, 21 Tns. en el tercero y 11 Tns. en el cuarto, con dos alargadores de diferente altura. Super extra-bajo: altura mínima 150 mm. Mando de elevación y descenso situado en la empuñadura. Base cuadrada.

   
P 304 B  
                  
   
  1º  
  
   2º  
  
  3º  
 
 4º   
 
 5º  
Potencia         
 Tns.         50 34 21  11  
Peso
Kg.  92           
Presión
atm.  7.5 ÷ 12          
GATO OLEONEUMATICO VEHICULOS BAJOS Y AUTOBUSES PASQUIN MODELO P304B p304b_p.jpg
Gato para gran tonelaje oleoneumático modelo P 304B. Tipo carretilla largo, con ruedas de goma y mango direccional extralargo. Telescópico de cuatro cuerpos: 50 Tns. en el primero, 34 Tns. en el segundo, 21 Tns. en el tercero y 11 Tns. en el cuarto, con dos alargadores de diferente altura. Super extra-bajo: altura mínima 150 mm. Mando de elevación y descenso situado en la empuñadura. Base redonda.
   
P 304B SC  
                  
   
  1º  
  
   2º  
  
  3º  
 
 4º   
 
 5º  
Potencia         
 Tns.         50 34 21  11   
Peso
Kg.  88           
Presión
atm.  7,5 ÷ 12          
Gato oleoneumatico gran tonelaje modelo P304BSC Gato P304B_SC diseño
Gato para gran tonelaje oleoneumático modelo P 304B-SC. Tipo carretilla, con ruedas de goma y mango direccional reducido, diseñado para servicios móviles. Telescópico de cuatro cuerpos: 50 Tns. en el primero, 34 Tns. en el segundo, 21 Tns. en el tercero y 11 Tns. en el cuarto, con dos alargadores de diferente altura. Super extra-bajo: altura mínima 150 mm. Mando de elevación y descenso situado en la empuñadura. Base redonda
   
P 304 N  
                  
   
  1º  
  
   2º  
  
  3º  
 
 4º   
 
 5º  
Potencia         
 Tns.         58 45 25  13  
Peso
Kg.  99           
Presión
atm.  8 ÷ 12          
Gato para autobuses y vehiculos bajos modelo P304N p304n_p.jpg
Gato para gran tonelaje oleoneumático modelo P 304N. Tipo carretilla largo, con ruedas de goma y mango direccional extralargo. Telescópico de cuatro cuerpos: 58 Tns. en el primero, 45 Tns. en el segundo, 25 Tns. en el tercero y 13 Tns. en el cuarto, con dos alargadores de diferente altura. Extra bajo: altura mínima 175 mm. Mando de elevación y descenso situado en la empuñadura. Base redonda
Gato vehiculos bajos y autobuses modelo P304NV gatos-oleoneumaticos-vehiculos-pesados-dimensiones-p304nv.jpg
Gato para gran tonelaje oleoneumático modelo P 304 NV. Tipo carretilla largo, con ruedas de goma y mango direccional extralargo. Telescópico de cuatro cuerpos: 58 Tns. en el primero, 45 Tns. en el segundo, 25 Tns. en el tercero y 13 Tns. en el cuarto, con dos alargadores de diferente altura. Altura mínima 175 mm. Mando de elevación y descenso situado en la empuñadura. Base cuadrada.
   
P 304 S  
                  
   
  1º  
  
   2º  
  
  3º  
 
 4º   
 
 5º  
Potencia         
 Tns.        58 45 25 13   
Peso
Kg.  112           
Presión
atm.  8,5 ÷ 12          
Gatos para vehiculos altos Pasquin gatos-aire-gran-tonelaje.cuatro-pistones-p304s.jpg
Gato para gran tonelaje oleoneumático modelo P 304S. Tipo carretilla largo, con ruedas de goma y mango direccional extralargo. Telescópico de cuatro cuerpos: 58 Tns. en el primero, 45 Tns. en el segundo, 25 Tns. en el tercero y 13 Tns. en el cuarto, con dos alargadores de diferente altura. Mando de elevación y descenso situado en la empuñadura. Base redonda.
GRAN TONELAJE TIPO CARRETILLA 5 PISTONES
   
P 305 NV  
                  
   
  1º  
  
   2º  
  
  3º  
 
 4º   
 
 5º  
Potencia         
 Tns.         60 48 27  15  10
Peso
Kg.  88           
Presión
atm.  9.5 ÷ 12          
Gato de carretilla para vehiculos de gran tonelaje Pasquin modelo P305NV Gato modelo P305NV dimensiones
Gato para gran tonelaje oleoneumático modelo P 305NV. Tipo carretilla largo, con ruedas de goma y mango direccional extralargo. Telescópico de cinco cuerpos: 60 Tns. en el primero, 48 Tns. en el segundo, 27 Tns. en el tercero, 15 Tns. en el cuarto y 10 Tns. en el quinto, con dos alargadores de diferente altura. Super extra-bajo: altura mínima 150 mm. Mando de elevación y descenso situado en la empuñadura. Base cuadrada.
   
P 105  
                  
   
  1º  
  
   2º  
  
  3º  
 
 4º   
 
 5º  
Potencia         
 Tns.         68 51 31   17 10 
Peso
Kg.  96           
Presión
atm.  9 ÷ 12          
Gato para vehículos bajos y autobuses Pasquin modelo P105
Gato para gran tonelaje oleoneumático modelo P 105. Tipo carretilla largo con ruedas de goma y mango direccional extralargo. Telescópico de cinco cuerpos: 68 Tns. en el primero, 51 Tns. en el segundo, 31 Tns. en el tercero, 17 Tns. en el cuarto y 10 Tns en el quinto, con dos alargadores de diferente altura. Super extra-bajo: altura mínima 120 mm. en toda la mitad de la longitud del gato (permite llegar a los puntos de elevación alejados del borde de la carrocería). Mando de elevación y descenso situado en la empuñadura. Base cuadrada
Gato P105 dimensiones